- About
- Description
- Specifications
- Features
- Downloads
- Shipping






Images are for illustration only and may not reflect the actual product. Refer to the description or specs.
Phoenix Contact 1401294 Sensor/actuator cable SAC-3P- 1,5-PUR/B-1L-R-ES
Normally In Stock
Code: 76175
Phoenix 1401294 PUR,Gray,Black,Halogen-Free 1.5 m Free Cable End 3-position Sensor/actuator cable
Condition: New
Usually ships Same Day or Next Day$45.82
Sale Price
$38.18
Tariff Status
Tariff may apply if shipping to the United States. Tariff costs are calculated and will be displayed in the shopping cart.
Need a large quantity or a custom solution?
Add this product to your job, favorites list or request a quick quote for volume pricing and lead time information. Our team is ready to assist with any special requirements.
Description
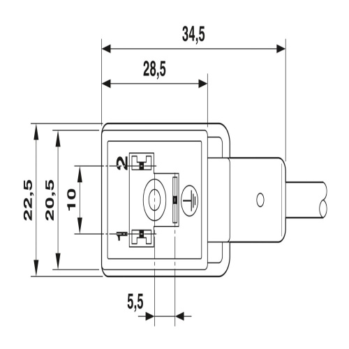
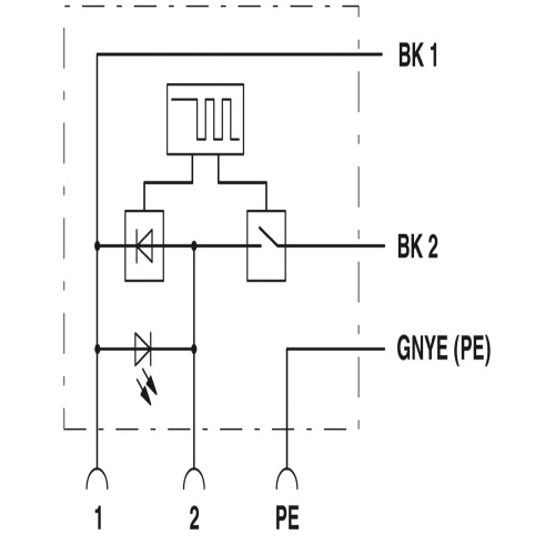
Phoenix Contact 1401294 A sensor/actuator cable is available in a black-gray RAL 7021 color, featuring a 3-position PUR halogen-free material and a valve connector B fitting with a 10mm connection point. The cable includes one LED and has a freewheeling diode with a holding current limiting device for energy reduction, with a total length of 1.5 meters and an additional holding current limiting device to optimize power consumption.
Specifications
Cable Head 1 Design
Free Cable End
Cable Number of Positions
3-Position
Cable Number of Valve Plugs
1
Cable Valve Connector Design
Valve Connector B
Status Indicator
Status Indicator
Manufacturer
Phoenix Contact
Component
Sensor-Actuator Cable With Valve Connector
Cable Length
1.5 M
Cable Material
PUR
Cable Material
Halogen-Free
Features
Numerous sizes and high numbers of positions – from M8 to M40 as well as 1/2″ and 7/8″ and up to 17 positions in one connector
Quick and reliable connection, even in confined spaces, with M12 push-pull connectors
Advanced Shielding Technology provides a totally protected and reliable shield connection under extreme environmental conditions
Safe, efficient control of electromagnetic hydraulic and pneumatic valves with preassembled valve connectors
Perfectly fitting cabling with customer-specific versions starting from a batch size of 1

Code: 76175
Phoenix Contact 1401294 Sensor/actuator cable SAC-3P- 1,5-PUR/B-1L-R-ES
$45.82
Sale Price
$38.18