- About
- Related Products
- Description
- Specifications
- Features
- Downloads
- Shipping
Images are for illustration only and may not reflect the actual product. Refer to the description or specs.
Code: 83094
Phoenix Contact 1069556 Reversing load relay PLC-PT-ELR W1/ 2-24DC
Normally In Stock
Phoenix 1069556 Motor protection,Reverse motor Push-in connection Reversing load relay
Condition: New
Usually ships Same Day or Next Day$134.57
Sale Price
$112.14
Tariff Status
Tariff may apply if shipping to the United States. Tariff costs are calculated and will be displayed in the shopping cart.
Need a large quantity or a custom solution?
Add this product to your job, favorites list or request a quick quote for volume pricing and lead time information. Our team is ready to assist with any special requirements.
Related Products
Description
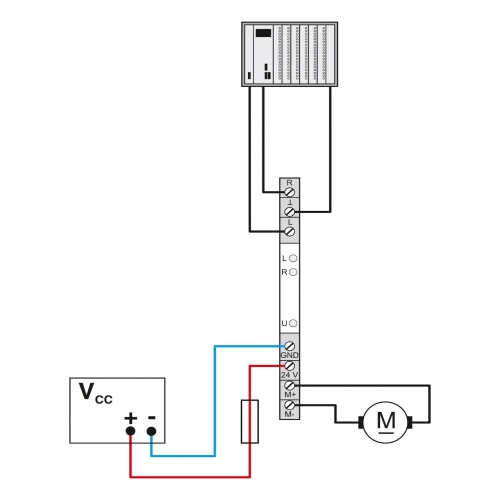
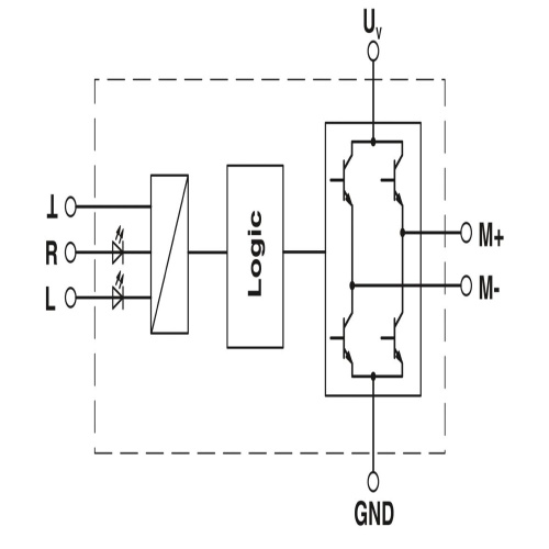
Phoenix Contact 1069556 A PLC-Interface can be used as an electronic reversing load relay. It features a PLC-BPT/21 basic terminal block with push-in connections and an integrated circuit that enables the control of DC motors. The device also includes an LED display for monitoring and a protective circuit to ensure safe operation. Its output is 10-30 V DC at a current capacity of 2 A.
Specifications
Manufacturer
Phoenix Contact
Component
Solid-State Contactor
Features
Integrated locking circuit and load wiring
Short-circuit, surge, and overload-proof output
Braking by controlling both inputs
Wear-free reversing

Code: 83094
Phoenix Contact 1069556 Reversing load relay PLC-PT-ELR W1/ 2-24DC
$134.57
Sale Price
$112.14








