- About
- Description
- Specifications
- Downloads
- Shipping






Images are for illustration only and may not reflect the actual product. Refer to the description or specs.
Phoenix Contact 1400827 Sensor/actuator cable SAC-3P- 1,5-PUR/A-1L-R-ES 4A
Normally In Stock
Code: 76205
Phoenix 1400827 PUR,Gray,Black,Halogen-Free 1.5 m Free Cable End 3-position Sensor/actuator cable
Condition: New
Usually ships Same Day or Next Day$35.74
Sale Price
$29.78
Tariff Status
Tariff may apply if shipping to the United States. Tariff costs are calculated and will be displayed in the shopping cart.
Need a large quantity or a custom solution?
Add this product to your job, favorites list or request a quick quote for volume pricing and lead time information. Our team is ready to assist with any special requirements.
Description
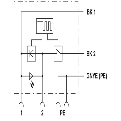
Phoenix Contact 1400827 The sensor/actuator cable is a black-gray PUR halogen-free cable with a 3-position valve connector A and features one LED, while the wiring includes a freewheeling diode with a holding current limiting device to reduce energy consumption, with a total cable length of 1.5 meters and an additional holding current limiting device at each end for added safety.
Specifications
Cable Head 1 Design
Free Cable End
Cable Number of Positions
3-Position
Cable Number of Valve Plugs
1
Cable Valve Connector Design
Valve Connector A
Status Indicator
Status Indicator
Manufacturer
Phoenix Contact
Component
Sensor-Actuator Cable With Valve Connector
Cable Length
1.5 M
Cable Material
PUR
Cable Material
Halogen-Free

Code: 76205
Phoenix Contact 1400827 Sensor/actuator cable SAC-3P- 1,5-PUR/A-1L-R-ES 4A
$35.74
Sale Price
$29.78