- About
- Related Products
- Description
- Specifications
- Features
- Downloads
- Shipping



Images are for illustration only and may not reflect the actual product. Refer to the description or specs.
Phoenix Contact 5603261 Optocoupler PLC-OSC- 24DC/ 48DC/100/C1D2
Normally In Stock
Code: 68626
Phoenix 5603261 Solid-state relay module 24 VDC Screw connection Input Function,Output Function Relays
Condition: New
Usually ships within 7-14 days. Call for ship time.$54.71
Sale Price
$45.59
MUST BUY IN PACKS OF 10
Tariff Status
Tariff may apply if shipping to the United States. Tariff costs are calculated and will be displayed in the shopping cart.
Need a large quantity or a custom solution?
Add this product to your job, favorites list or request a quick quote for volume pricing and lead time information. Our team is ready to assist with any special requirements.
Related Products
Description
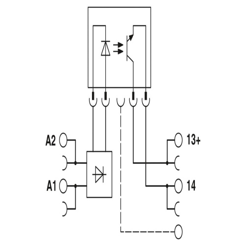
Phoenix Contact 5603261 A PLC-Interface unit features a DIN rail-mountable basic terminal block with screw connections and plug-in miniature solid-state relays, accepting 24VDC input and producing 3-48VDC output up to 100mA, with UL and cUL certifications for use in hazardous Ex Zone Class I, Div. 2 environments.
Specifications
Relay Mounting
Din Rail
Relay Connection Type
Screw Connection
Component
Relay Module-Solid State
Manufacturer
Phoenix Contact
Relay Input Amperage
8 Mamp
Coil Voltage Rating
12-24 Volt
Relay Load Voltage DC Rating
3 Volt - 48 Volt
Features
Reliable and durable operation with a high switching capacity
Space-saving installation with the compact design
Easy commissioning with pre-assembled connectors
Downloads
Phoenix 5603261 Application Note English.pdfPhoenix 5603261 CAD data International.dxfPhoenix 5603261 CAD data International.pdfPhoenix 5603261 CAD data International.stpPhoenix 5603261 Manufacturers declaration English.pdfPhoenix 5603261 Manufacturers declaration International-2.pdfPhoenix 5603261 Manufacturers declaration International.pdfPhoenix 5603261 Product Information English.pdfPhoenix 5603261 Tender Text English.zip

Code: 68626
Phoenix Contact 5603261 Optocoupler PLC-OSC- 24DC/ 48DC/100/C1D2
$54.71
Sale Price
$45.59
MUST BUY IN PACKS OF 10





