- About
- Related Products
- Description
- Specifications
- Features
- Downloads
- Shipping






Images are for illustration only and may not reflect the actual product. Refer to the description or specs.
Weidmuller 1319280000 Safety Relay
Normally In Stock
Code: 191551
Weidmuller 1319280000 - 24 VDC - DIN Rail Mounting - Screw Connection -
Condition: New
Usually ships within 4 weeks. Call for ship time.$398.60
Sale Price
$332.17
Tariff Status
Tariff may apply if shipping to the United States. Tariff costs are calculated and will be displayed in the shopping cart.
Need a large quantity or a custom solution?
Add this product to your job, favorites list or request a quick quote for volume pricing and lead time information. Our team is ready to assist with any special requirements.
Related Products
Description
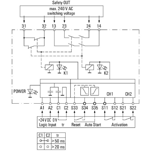
Weidmuller 1319280000 - Introducing the SAFESERIES Contact Extension, the ultimate solution for signal monitoring and safety protection in applications for the safeguarding of people and machinery. This extension utilizes relays with forcibly guided contacts, complying with EN 61810-3 Type A standards, ensuring safe feedback to the control level. The Contact Extension consists of five pluggable relays, each with matching screw sockets, available in different contact configurations: 2 NO + 2 NC, 3 NO + 1 NC, 4 NO + 2 NC, 3 NO + 3 NC, and 5 NO + 1 NC. By designing your application according to EN/ISO 13849-1, a performance level of PL "e" can be achieved, providing a high level of safety. The Contact Extension is also suitable for safety applications according to IEC/EN 62061, allowing you to achieve a safety integrity level of SIL3. Additionally, the Contact Extension carries cULus listed approval, ensuring its acceptance on the North American market, and CQC approval for conformity with Chinese quality standards. The extension comes as an assembled and 100% functionally tested kit, consisting of a relay and socket with an integrated status LED for easy diagnostics. With a diagnosis coverage of 99%, the SAFESERIES Contact Extension provides reliable and comprehensive safety monitoring for your applications.
Specifications
Relay Mounting
Din Rail
Relay Connection Type
Screw Connection
Coil Voltage Rating
24 VDC
Component
Safety Relay
Manufacturer
Weidmuller
Features
Especially for areas of process automation in which the functionally safe shutdown of the fuel supply to combustion plants is necessary.
The relay complies with SIL3 and meets the requirements of EN ISO 13849-1 (PLe).
TUV certified "Approved Safety Function" Forcibly guided contacts according to EN 61810-3 Type B 2-channel design suitable for protection of human and machine Can be used for electrical equipment of combustion plants according to EN 50156
Downloads

Code: 191551
Weidmuller 1319280000 Safety Relay
$398.60
Sale Price
$332.17





