- About
- Related Products
- Description
- Specifications
- Features
- Downloads
- Shipping






Images are for illustration only and may not reflect the actual product. Refer to the description or specs.
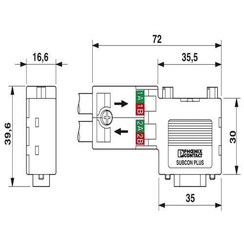
Phoenix Contact 2313672 D-SUB bus connector SUBCON-PLUS-PROFIB/90/IDC
Normally In Stock
Code: 152852
Phoenix Contact 2313672 - IP40 - D-SUB Connection
Condition: New
Usually ships Same Day or Next Day $64.72
Sale Price
$53.93
MUST BUY IN PACKS OF 50
Tariff Status
Tariff may apply if shipping to the United States. Tariff costs are calculated and will be displayed in the shopping cart.
Need a large quantity or a custom solution?
Add this product to your job, favorites list or request a quick quote for volume pricing and lead time information. Our team is ready to assist with any special requirements.
Related Products
Description
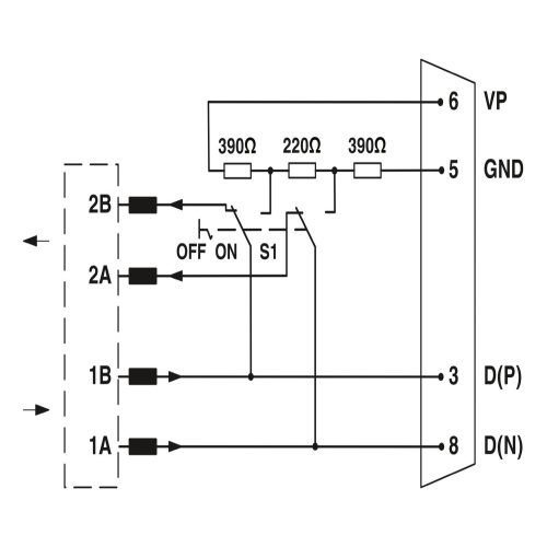
Phoenix Contact 2313672 A D-SUB connector with a 9-position pin configuration and a 90° cable outlet is part of a bus system that utilizes the PROFIBUS DP protocol up to 12 Mbps. The termination resistor can be turned on or off using a slide switch, allowing for adjustable termination capabilities. Connectors are typically assigned pins 3, 5, 6, and 8, while IDC terminal blocks provide an alternative connection option.
Specifications
Connector protection
IP40
Manufacturer
Phoenix Contact
Component
D-SUB
Sub Component
Bus Connector
Features
Suitable for all common Fast Connect PROFIBUS cables and RS-485 bus lines
Downloads

Code: 152852
Phoenix Contact 2313672 D-SUB bus connector SUBCON-PLUS-PROFIB/90/IDC
$64.72
Sale Price
$53.93
MUST BUY IN PACKS OF 50





