- About
- Description
- Specifications
- Features
- Downloads
- Shipping
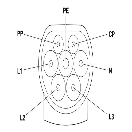
Images are for illustration only and may not reflect the actual product. Refer to the description or specs.
Code: 153490
Phoenix Contact 1247580 AC charging cable EV-T2G3PC-3AC20A-7,0M2,5ESYE11
Normally In Stock
Phoenix Contact 1247580 EV-T2G3PC-3AC20A-7,0M2,5ESYE11 ,Plastic,TPE-U charging cable
Condition: New
Usually ships Same Day or Next Day$57.11
Sale Price
$47.59
Tariff Status
Tariff may apply if shipping to the United States. Tariff costs are calculated and will be displayed in the shopping cart.
Need a large quantity or a custom solution?
Add this product to your job, favorites list or request a quick quote for volume pricing and lead time information. Our team is ready to assist with any special requirements.
Description
Phoenix Contact 1247580 The CHARX connect comfort is a Type 2 mobile AC charging cable designed for permanent use, featuring a voltage rating of 480 V AC and a length of 7 meters. It has a yellow straight design with a protective cap and comes equipped with a vehicle charging connector and infrastructure charging plug. This cable meets the IEC 62196-2 standard for charging electric vehicles via type 2 vehicle charging inlets, allowing users to charge their vehicles using alternating current AC power.
Specifications
Component
Cable
Connector Amperage
20 Amp
Connector Amperage
2 Amp
Connector Material
Plastic
Connector Material
TPE-U
Connector protection
IP44
Manufacturer
Phoenix Contact
Sub Component
AC Charging Cable
Connector Voltage
480 Volt
Connector Voltage
30 Volt
Features
Complete product range
Convenient handling due to the ergonomic, triple award-winning design
Available with your logo on request - for consistent branding of your charging station
Longitudinal water tightness reliably prevents water ingress
Developed and produced in accordance with the IATF 16949 automotive standard and ISO 9001
Tested in accordance with automotive standards LV124, LV214, and LV215-2
Tested in accordance with EV Ready 37 requirements
Laser-marked mating face in accordance with DIN EN 17186
Downloads

Code: 153490
Phoenix Contact 1247580 AC charging cable EV-T2G3PC-3AC20A-7,0M2,5ESYE11
$57.11
Sale Price
$47.59




